今年9月,之前出尽洋相的三星折叠屏手机Galaxy Fold重新上市,但却提醒消费者要“精心呵护”。不少人吐槽,“卷土重来”的它就是一款给那些土豪铁杆粉尝鲜的产品。
这之后,小米、华为、TCL等又纷纷传出折叠屏推出的具体进展。这让人越来越深深怀疑——三星上回修好了Galaxy Fold的bug就够了吗?它是不是该赶紧出款Galaxy Fold 2了?
关于这一猜想,各大外媒最近倒是真给出了不少细节轮廓:

三星Galaxy Fold 2发售日期和价格
TechRadar报道称,之前的Galaxy Fold 2发行日期曝光预测,改款设备年会在2020年上半年推出,这是一个有点模糊的时间表。但是,韩国的最新报告显示,该报告可能会在4月份宣布,这又为我们提供了更为准确的时间表。
但是,想想Galaxy Fold上个月才在美国重新上架,那明年4月…新的一款也许还没那么快。
但TechRadar援引报道称,Galaxy Fold 2可能会降到1,500美元(约合1,165英镑/2,197澳元),尚无确切价格。相比之下,Galaxy Fold为1,980美元/ 1,800英镑(约合3,350澳元)。如果这是真的,那价格肯定是比Galaxy Fold第一代要香的。
除非三星能找到降低生产成本的方法,否则我们预计Galaxy Fold 2将会非常昂贵,至少不可能便宜到哪里去。
屏幕细节
三星Galaxy Fold 2的传闻表明,该手机将具有一个6.7英寸的屏幕,可在水平轴上折叠(初代Galaxy Fold在垂直轴上具有铰链,向内折叠)。折叠合上后,屏幕和原始屏幕一样隐藏在内部,并且再次传出会有辅助显示器,但是这次只有1英寸。
作为参考,原始的Galaxy Fold具有7.3英寸的主屏幕和4.6英寸的辅助屏幕,因此,如果信息是真的,则两个屏幕在Fold 2上都比较小。所以——这是有点降级了?有点不对劲啊……还是三星是为了节约成本要推出较小的可折叠产品?
此外,在接受彭博社采访时,“熟悉产品开发的人们”也呼应了上述内容,其中指出了一块6.7英寸的水平折叠屏幕,一个穿孔的自拍相机以及比当前型号更薄的机身。
此前有报道称三星正在研发两款新的可折叠手机,其中一部被称为“翻盖式设备”,它可能就是上面描述的那款。
据说另一个可以像原始手机一样垂直折叠,但是可以向外折叠,因此主屏幕在外面,并且始终可见——根据手机是折叠还是展开,它将会变换大小。这听起来与华为Mate X有那么几分相似。
一份报告还声称,三星可能选择用耐刮擦的超薄玻璃(UTG)代替当前Fold显示器上的透明塑料聚酰亚胺(PI)保护层。但是——这会使电话更易碎,价格也更高。
三星还获得了众多可折叠手机设计的专利。其中许多可能从未使用过,但有些可能会提供我们所期望的线索。
例如,我们已经看到了上面的三种可能的设计,其中一种是翻盖设计,而另外两种则更接近当前模型。
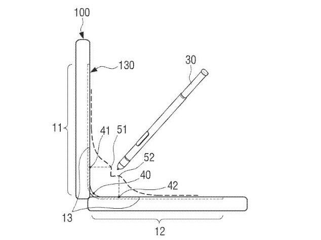
同时,另一项专利讨论了一种可与手写笔配合使用的折叠式手机,这可能会使未来的Galaxy Fold设备更加接近三星的Galaxy Note系列。
为了充分利用大屏幕,可以使用触控笔进行一种颇为炫技的操作。并且该专利专门描述了一种触控笔,当手机部分折叠时(没有完全折叠),触控笔甚至可以在屏幕的弯曲那一部分上工作。渲染图显示,整机还给S-Pen留了个专门的插口。


LetsGoDigital发现的专利图则显示,手机壳中的光学传感器会在电话的前部使用一个“光敏区域”,包括镜头,但该传感器将在前后摄像头之间共享,即使在折叠或展开时也能保持性能。
三星Galaxy Fold 2或将还有一种笔记本电脑模式,内置8000毫安时电池和特殊的DEX模式供电,且支持液冷散热,甚至还增加了一个可伸缩的支架,使笔记本模式更专业。
据一家名为The Bell的韩国媒体报道,三星Galaxy Fold 2将采用更大的8英寸显示屏,并且将使用韩国国内供应商DoInsys提供的可弯曲玻璃盖板,DoInsys已经创造出了一种超薄钢化玻璃,可用于弯曲手机,比聚酰亚胺保护膜更坚韧。
摄像与核心配置
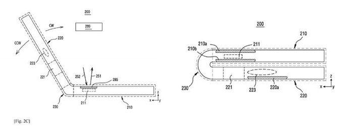
关于三星Galaxy Fold 2的摄像头位置也有了新的说法。近日,三星Galaxy Fold折叠手机系列的新设计专利曝光,展示了下一代产品的摄像头位置可能会有所不同。专利图显示了3种外观设计,不同的地方式摄像头和传感器的位置,分别位于手机的左上方、右上方等。在此基础上,也使得其屏幕边框控制极为出色,几乎达到了100%的屏占比表现。Fold 2有自拍前置镜头,由于该机采用外翻折设计,因此当屏幕处于折叠时候,摄像头区域将留在外部。据悉,三星公司于2018年11月14日向The Haque System申请了外观设计专利,之后于2019年6月将该专利添加到WIPO(世界知识产权局)数据库中。

核心配置方面,Techconfigurations的曝光中则显示,Fold 2搭载了高通骁龙865 CPU、屏下指纹扫描器、后置三摄、8000毫安时电池及液冷散热。另外相比上一代,此次新机拥有新的无缝折叠屏幕——新机的铰链被加固了,折叠后和展开后屏幕无缝衔接在一起。在外翻折叠模式下,每侧都有一个6.6英寸的OLED屏幕,当设备展开时有一个8英寸的OLED显示屏。还有一种笔记本电脑模式,增加了一个可伸缩的支架,使笔记本模式更专业。
屏下摄像方面,三星移动通信事业部研发副总裁Yang Byung-duk今年3月份就曾表示,三星正在致力于研发屏下摄像头技术,从而进一步提升屏幕完整性,打造真正的全面屏手机。
优势总结:
- 超酷的外形
- HDR10 +的出色显示屏
- 六摄像头
劣势总结:
- 价格高昂
- 没有耳机插孔或microSD端口
- 大屏幕折痕明显
我们想要的Galaxy Fold 2是怎样的?
折叠屏作为一个新品类,改进的空间自然还是比较大的。但是Galaxy Fold的确比大多数高端手机更靠谱,尽管它还有很多不足的地方。
所以我们会希望接下来Galaxy Fold 2拥有这样一些优点:
1)较低的价格
三星Galaxy Fold售价为1,980美元/1,800英镑(约合3,350澳元),是典型旗舰产品价格的两倍。当您认为这是首批可折叠产品之一,并且提供的屏幕是典型旗舰产品的两倍左右时,价格就变得合理了,但仍然超出了大多数人的承受能力。
因此,对于Galaxy Fold 2,我们希望看到价格上大幅下降。它的价格仍可能比三星Galaxy S11高,但作为第二代产品,三星有可能将价格降低到目前的水平以下。如果它希望可折叠成为长期的一个主流,必须得跨过这道坎。
2)更耐用的设计
尽管被怼得下架的Galaxy Fold再“出山”,其耐用性已经提升了,但它仍然比标准手机更脆弱。
拥有折叠屏幕,铰链和较小的辅助显示屏,这也许是不可避免的,但我们希望三星能尽一切可能使Fold 2更加坚固,尤其是在价格如此昂贵的情况下。
总的来说,希望Galaxy Fold 2出来时不要再被测评视频狂喷一通。
3.更佳体验的“第二屏”
尽管Galaxy Fold的7.3英寸可折叠主屏幕令人印象深刻,但其4.6英寸辅助屏幕却不那么令人印象深刻。这是您在折叠主显示屏时与之交互的屏幕。这个屏幕不折叠,很小,上面和下面都有很大的边框。
对于Galaxy Fold 2,我们希望它至少具有更少的边框,并且要更大一些,但是通过将手机设计为主屏幕在外部(以便将主屏幕折叠到一半尺寸,但始终可见),三星根本不必担心会内置一个额外的显示器。尽管这可能会使Fold 2更加脆弱。
4.不再有折痕
Galaxy Fold的一个问题是中间的折痕总是很明显。用户会习惯的,但是在手机上如此昂贵的价格,我们不想去适应和妥协,因此对于Galaxy Fold 2,我们希望三星能够在减少折痕方面做得更好。
5.均匀流畅的刷新率
在我们的测试中,Fold的显示还受到刷新率不均匀的影响。这意味着,例如,如果您滚动浏览大量文本的网页,则单词在屏幕上的移动将会不均匀和卡顿。
这不是我们所期望的一款优质产品该出现的问题,尤其是像三星这样的老手就更不应该了。我们希望在下一个型号中,可以看到改进。
6. microSD卡插槽
这个虽然似乎是个小细节,但是三星Galaxy Fold虽然很大,却没有找到用于microSD卡插槽的空间。鉴于它具有512GB的存储空间,这并不是什么大不了的事情,但是我们仍然希望在第二版中看到它。
7.更大,更快的充电电池
按照智能手机的标准,Fold的4,380mAh电池(在5G版本中为4,235mAh)相当大,但这不是标准的智能手机,尽管电池寿命变得足够长,但还是有改进的余地。
因此,对于Galaxy Fold 2,我们希望看到三星将更大的电池塞进去,从而充分利用大尺寸电池的使用寿命这一优势。
本报告利用前瞻资讯长期对折叠屏手机行业市场跟踪搜集的一手市场数据,采用科学的分析模型,全面而准确的为您从行业的整体高度来架构分析体系。报告主要分析了折叠屏手机...
品牌、内容合作请点这里:寻求合作 ››


让您成为更懂趋势的人
想看更多前瞻的文章?扫描右侧二维码,还可以获得以下福利:
下载APP
关注微信号
扫一扫下载APP
与资深行业研究员/经济学家互动交流让您成为更懂趋势的人
违法和不良信息举报电话:400-068-7188 举报邮箱:service@qianzhan.com 在线反馈/投诉 中国互联网联合辟谣平台
Copyright © 1998-2026 深圳前瞻资讯股份有限公司 All rights reserved. 粤ICP备11021828号-2 增值电信业务经营许可证:粤B2-20130734